What difference are SFS and SFU ball screw nuts?
It's curial to select the right ball screw nut. When making a selection, please take into consideration of demanded accuracy, intended delivery time, dimensions(the outside diameter of the screw, ratio of lead / the outside diameter of the screw), preload load, etc.
Yongwu Hu
3/17/20221 min read
SFS ball screw nut
The steel balls of SFS nut forward along the groove between the screw and nut, and recycle through the circulators on both sides. The circulation way is similar to SFE nut. Hence, this way the design of the circulation of the steel ball along the direction of tangent of helix, and there are sound-insulated and dust-free apparatuses on both sides of nut so the noise volume will be diminished. In addition, the assembly space is small so the SFS nut is suitable for high-speed and light-load situations especially. (as per Fig.3.23).


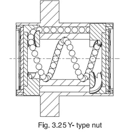
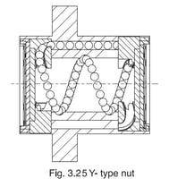
SFY ball screw nut
SFY ball nut shares the circulates very much likely to the SFS nut and dimensionally equivalent to SFE nut. Using the reinforced wiper system ensures stronger wiping ability and high stiffness in high-speed motion.
SFU ball screw nut
In SFU nut, the steel balls move along the grooves of the internal circulator, diagonally pass over the tooth tops of the screws, then return to the origin point. It generally possesses one roll of steel balls and one single pass circulation (as per Diagram 3.26)
This type of screw has at least one end with completely through threading, suitable for screws of smaller diameters, it is equipped with a metal circulator.
SFE ball screw nut
This type has the features of both the external circulation type and the internal circulation type; the steel balls roll forward in the grooves between the screw and the nut and are further guided by the end cap circulator at the nut end to the circulating hole in the nut body. It is generally similar to the external circulation type featuring multiple rolls of steel balls and a single pass of circulation but is not provided with external tubes (as per Fig. 3.28).






Related Post

